FAQ 常見問題
sfn214【提供電信商的MAC位址要從哪裡查看?】
如何查看路由器的 WAN MAC 位址?
在某些社區寬頻或學校宿網環境中,更換路由器後可能會無法上網,通常是因為您的 MAC 位址沒有綁定
當您需要聯繫電信商或網管人員時,他們會請您提供新路由器的 WAN MAC 位址
當您需要聯繫電信商或網管人員時,他們會請您提供新路由器的 WAN MAC 位址
方法一:透過路由器後台介面查看
1. 登入路由器設定頁面
在瀏覽器網址列輸入
在瀏覽器網址列輸入
http://cudy.net 或 192.168.10.12. 查看 WAN MAC 位址
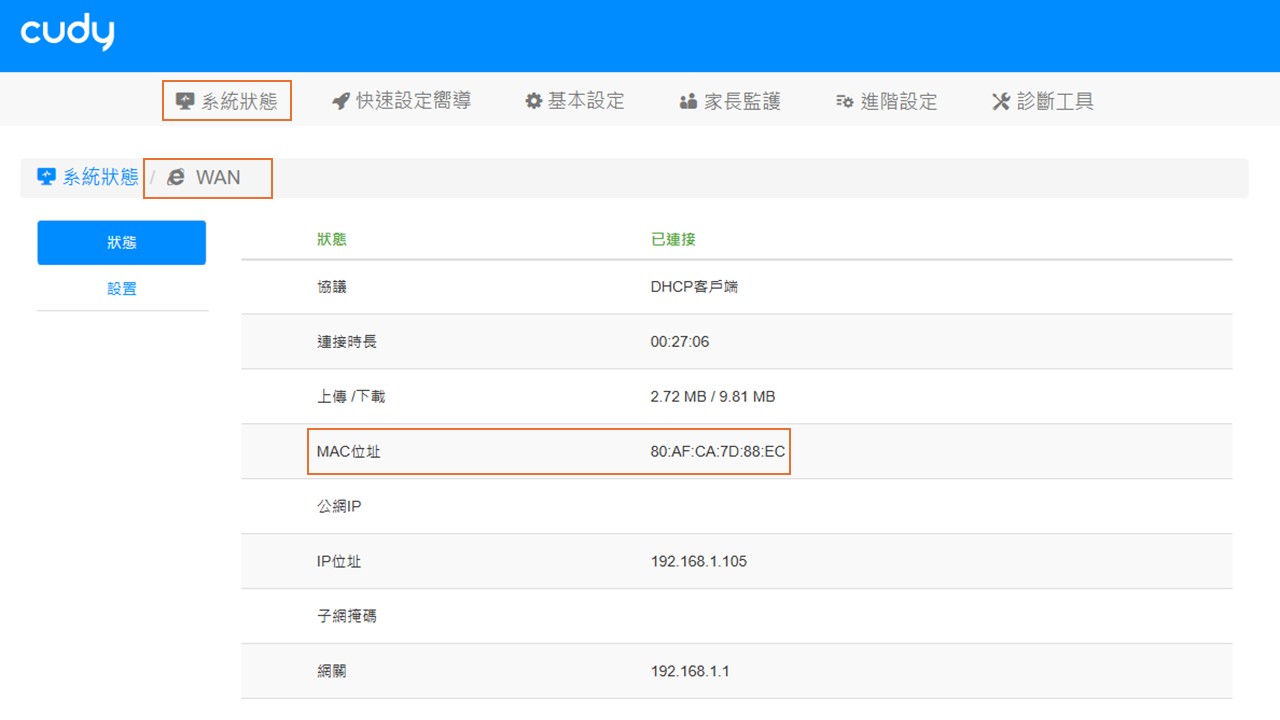
點選 「系統狀態」,查看 WAN 方格,然後點選 「詳情」 進入狀態頁面即可看到 MAC 位址
點選 「系統狀態」,查看 WAN 方格,然後點選 「詳情」 進入狀態頁面即可看到 MAC 位址

方法二:透過 Cudy App 狀態查詢
1. 開啟 App 並進入設定頁面
開啟 Cudy App 並選擇您的路由器
開啟 Cudy App 並選擇您的路由器
2. 尋找 MAC 克隆欄位
滑動到最下方,依序點選 「更多」 > 「WAN」 > 「進階設定」,查看 「MAC 克隆」 裡的 「浮水印」 文字
註:預設的 MAC 位址(浮水印)即為該分享器的 WAN MAC 位址
滑動到最下方,依序點選 「更多」 > 「WAN」 > 「進階設定」,查看 「MAC 克隆」 裡的 「浮水印」 文字
註:預設的 MAC 位址(浮水印)即為該分享器的 WAN MAC 位址

Download:
SFN-214【提供電信商的MAC位址要從哪裡查看】.pdf
